Kurt Heegner

Photo of Kurt Heegner, this photo was taken at the terrace of his mother's home in Berlin in the 1930s
(courtesy of Dr. Fritz Heegner, via Dr. Samuel Patterson)
Some aspects of his life being an inventor, although, he was mainly a private tutor (Privat Dozent) in mathematics.
Some months ago, I was asked by Mr Patterson - why I had mentioned to one of Heegner’s quartz related patents: oerpatent (basic patent)? It concerned DE603006. It was explained, that a group of scientist of Göttingen University were planning an extensive paper on Kurt Heegner, which also relied on material donated to the University of Göttingen by Heegner’s sister. Owing to the premises, I would like to point only on what is in the line of our website and that is - quartz and patent related subjects and Telefunken's involvements.
Kurt Heegner was born on 16 December 1893 and he died in 1965. In the year 1920 he received his Ph.D. at Jena University on: Über den Zwischenkreisröhrensender. Particularly in the 1920s and 1930s he published quite some papers on valve oscillators. He even jointly prepared a paper with Watanabe of Japan.
List of Heegner patents:
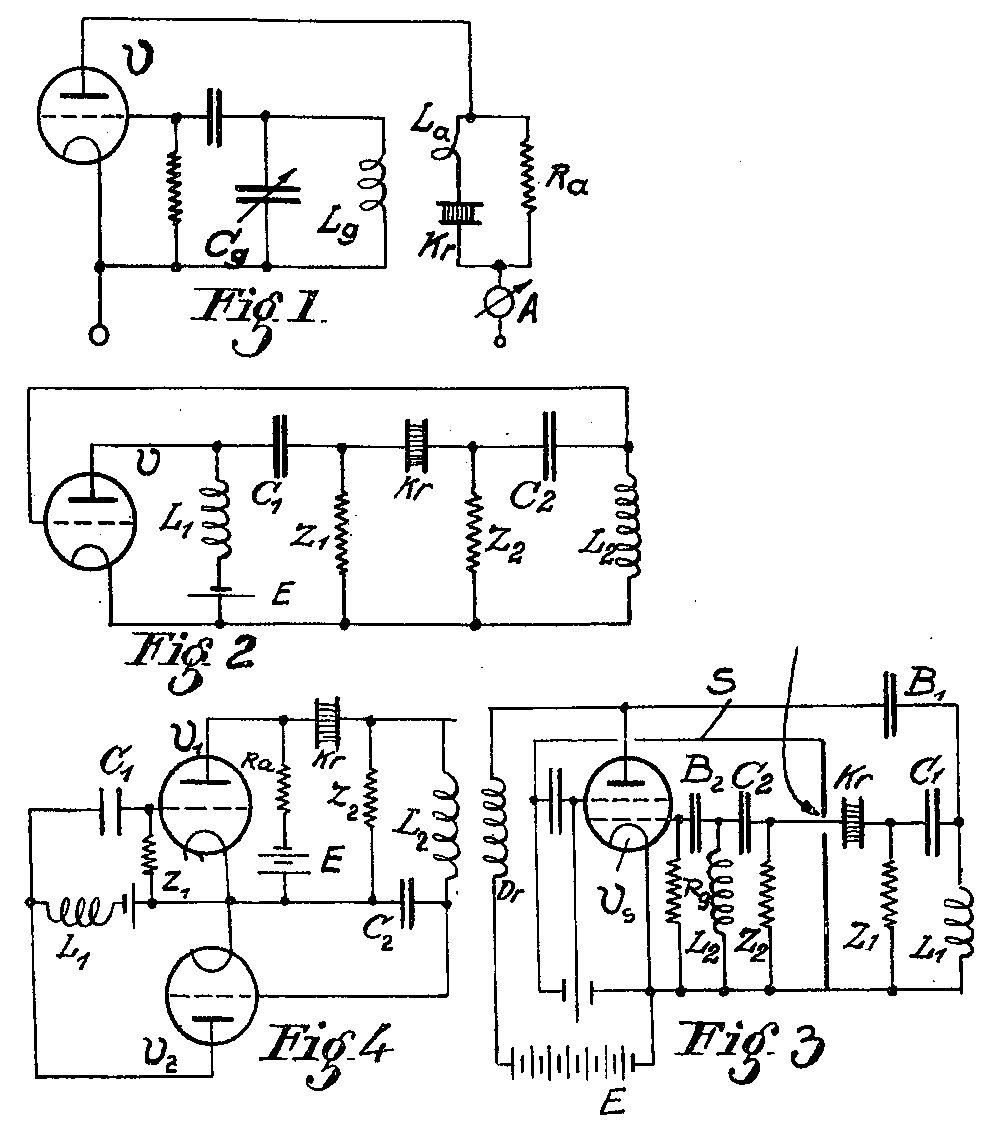
To me, Kurt Heegner’s most significant patent is: DE603006, which is, in most respects equal, to: GB431068 and, more or less covering US2031106 and US2053524. Heegner’s main invention was - to explore the series resonance phenomenon of piezo-electric vibrators, mainly using a single valve (tube). Series resonance represents just at this point only the ohmic loss which is called: R1 of the equivalent quartz circuit - as, at just this point, L1 and C1 is being cancelled (the quartz resonator does not show any phase shift, hence φ = 0°, which condition is only true at the exact series resonance frequency). One significant feature of his invention was, that his circuitry allowed, nevertheless, some small, though, stable tuning of the frequency too. Which is quite an achievement, when the positive feed-back-loop is only determined by the series resonance of the quartz crystal, which value cannot easily be varied (R1). Let us first follow some lines of the British patent GB431068 British application date of 1 January 1934, German Convention date January 4, 1933.
I, Dr. Kurt Heegner, of 7, Elisenstrasse, Berlin-Steglitz, Germany, a citizen of Germany, do hereby declare the nature of this invention and in what manner the same is to be performed, to be particularly described and ascertained in and by the following statement:- It is well known to use piezo-electric crystal for the purpose of maintaining constant the frequency of an thermionic valve oscillator. .... According to the invention the difficulty is overcome by coupling crystal and oscillatory circuits in such a manner that by an increase in the damping an increase in the back-coupling (meant is positive feed-back, AOB) is effective. In order, however, with the coupling of this kind to obtain the correct phase, there are required, two tuneable electric circuits, which may be coupled with the crystal circuit either in direct fashion or through the medium of a valve. This may be accomplished, according to the invention, by connecting each pole of the crystal to the cathode of the valve via an oscillatory circuit, consisting of a coil and a condenser in series and by connecting the point between coil and condenser of one oscillatory circuit to the anode and the corresponding point to the other oscillatory circuit for the purpose of back-coupling (positive feed-back, AOB) the crystal to the grid of the valve. ... An embodiment of the invention is illustrated in Fig. 2. One pole of the crystal Kr is connected to the cathode of the valve V via an impedance Z1 and, in parallel to it, via condenser C1 and L1, the other pole of the crystal via Z2, C2 and L2. The point between L1 and C1, is connected to the anode of the valve, the point between L2 and C2 to the grid. The anode battery E is laying in series with coil L1. It is possible to permute L1 and C1 against each other and to permute correspondingly L2 and C2. The coupling impedances Z1 and Z2 should possess a predominant ohmic component in order to damp the electric circuits in the desired fashion. The impedances should be selected in such a fashion that disturbing waves, which may be caused by the electrode capacity of the crystal, are suppressed. One of the impedances may be dispensed with if the other is made smaller. It is also possible to dispense with both impedances if a resistance is put in parallel to the crystal. The exact tuning of the electric circuits to the crystal frequency may be performed as follows: The impedance Z2 is replaced by one ohmic resistance, which is of the order of the ohmic resistance of coil L2. When in this connection the oscillations cease, a suitable resistance should be put in parallel to the crystal. The tuning of the series element (C2, L2) may then be recognised on the minimum of the anode current of the valve. The crystal circuit (Z1, Kr, Z2) is then replaced by a low ohmic coupling resistance, and the circuit (L1, C1) tuned to the circuit (L2, C2). .... So far the wordings of the British patent document.
Patent drawing to GB431068
To obtain optimal quality click on this drawing
Some aspect of Kurt Heegner's patent struggles and difficulties to obtain revenues from his inventions
Thanks to Samuel Patterson’s generous cooperation we will be informed in aspects of Heegner’s struggles.
Although, patent DE603006 was on Kurt Heegner’s own name, he soon found a willing ear of D.S. Loewe and Opta Radio (in post war years also known as Loewe Opta).
They made a contract in which was settled that Loewe should try to commercialize Heegner’s oscillator patent, in the meantime they were paying the annual patent-fees. One of the points was, that the agreement was nullified (being made redundant) when after a certain period no commercial application was commenced. From Telefunken archival documents we can, more or less, reconstruct the route which finally was taken as to come to an agreement with Telefunken. First previous Loewe (and Opta) settlements had to be cancelled.
Bechmann (who was one of Germany's leading experts on quartz resonators) of Telefunken was quite negative on Heegner’s personality*, however, he agreed the proposal that Telefunken should make use of his patent DE603006 (mainly the first invention claim 'Patentanspruches 1'). First, Heegner should earn RM 600 (Reichsmark) per annum. Their first expectation was, that about 100 quartz-oscillator units could be sold by Telefunken. He expected that it might be possible that Heegner should receive RM 3000 for the application of his invention. What should be accomplished firstly was, that the agreement between Heegner and Loewe (Opta) should be legally cancelled (nullified), so that the patent ownership could (now) be put on Telefunken’s name. In 1941 they finally came to a settlement in which Heegner should receive a sum of RM 10000 for the right of using his invention based on patent DE603006. This agreement should last 4 years, thus should be renewed in 1945/46. In those post war days Telefunken logically expressed, that owing to Telefunken’s current situation (Germany had surrendered just recently) there was no chance that a new agreement could be settled (next four years royalty payment term).
*Herr Dr. Heegner redete unklar und unverständlich wie immer ...
Why did Telefunken pay so much money for Kurt Heegner’s invention?
According to Telefunken document F7 Dr. Be/J. (Be = Bechmann) dated 1 October 1941, directed to their Patentabteilung Herr Dr. Johannesson, Betrifft: Vertrag Telefunken- Dr. Heegner D.R.P. 603006 (D.R.P. means Deutsches Reichspatent, nowadays we use DE)
Der Umfang der Verwendung des obigen Schutzrechtes, insbesondere des Patentanspruches 1, ist in dem letzten Jahre betrachtlich gestiegen. Im einzelnen ist der Einsatz der Schaltung wie folgt:
|
Tfk.Bezeichnung
|
Behördenbezeichnung |
Stückzahl b.Juni 41 |
Stückzahl ab Juli 41 |
|
Horst a
|
Horchempfänger a |
996 |
100 |
|
Horst e*
|
Horchempfänger e |
25 |
-- |
|
Walter
|
Mittelwellenemf. c |
800 |
8500 |
|
Main
|
Empfänger T9K39 |
350 |
450 |
|
Ruhr
|
Empfänger T7KL39 |
170 |
– |
|
Schloss
|
Funk-Peilgerät c |
50 |
– |
|
Köln
|
Fu/E59 |
2870 |
3230 |
|
Ludwig
|
Peil G6 |
— |
10400 |
|
Mainz
|
Steuer u.Ablesegerät Würzburg |
|
1038 |
*One would expect also type Horst c. Though, type e seemingly have (also) been a Telefunken product (bou), nevertheless, most known Funkhorchempfänger e originate from Lorenz (dmr). In our collection we have a Lorenz type e, which was manufactured in 1944/45 (I got it originally from Czech Republic in 1985). We may estimate that Telefunken's version was no longer accepted (favoured) by the military services after say 1941, as according this list, there did not exist any production figures >1941.
Die in den beiden Rubriken, Stückzahl vor und nach Juli 1941, angegebenen Stückzahlen sind laufende und bestellte Aufträge, wobei die Aufträge vor Juli 1941 teilweise noch nicht ausgeliefert sind. In den obigen Geräten ist die geschützte Schaltung jeweils als Überlagerungs- und Eich-Oszillator zu verwenden. Über die angeführte Zahlen hinaus ist wegen der beträchtlichen Steigung des Heeresbedarfes in laufenden Jahr mit einer weiteren Steigung der Stückzahlen zu rechen. Besonders sei ein Auftrag von 6000 Stück Geräte Walter (Mittelwellenempfänger - c) erwähnt, wobei dieser Auftrag bei der Fa. Saba im Nachbau in den nächsten Monaten anläuft.
Consider also our main patent information page: German patents
Back to, or proceed with: Handbooks papers and product information